在这个全民防疫的新年里,针对疫情防控过程中的信息协同效率低下、数据公开透明度低等问题,2月15日,墨珩科技联合深圳墨客节点、湖北邮电规划设计有限公司、北京视维数据科技有限公司创新合作共同研发的疫情防控大数据平台在湖北正式上线。2月16日,由墨珩科技与新华网等联合工作小组共同创新研发的疫情防控大数据管理平台在河北省巨鹿县正式上线运行。

图1:巨鹿县疫情防控大数据管理平台

图2:疫情防控地图(数据谨作为演示用途)
墨珩科技CEO陈小虎表示,针对防疫过程中暴露出的种种问题,区块链技术大有可为,区块链的技术优势可以有效解决疫情期间信息不及时、不透明等问题,从而为防疫工作的信息互通、作业协同、捐赠物资使用情况追溯等不同的应用场景带来有效的解决方案。“基于墨珩科技自主研发的区块链底层平台,我们用最短的时间实现了系统在区块链网络中的部署,并为“疫区”的疫情排查工作提供“7X24小时”不间断地远程技术支持“,陈小虎说道。

图3:方案框架图
疫情防控大数据平台综合利用区块链、大数据等创新技术,汇聚、整合、挖掘政府数据,融合社会与互联网数据,充分发挥多渠道数据价值,开发一套针对肺炎疫情的实时上报、实时监控以及疫情传播追溯的平台级产品。为一线工作者(信息采集员/网格员)、疫情防控指挥的工作人员和各级领导提供完善的数据采集、录入、上报、统计、分析等工作提供支撑,实现数据采集入口统一化、填报标准规范化、信息整理标准化,完成从村/街道、社区、企业、工厂、学校、乡镇、县/市到省级单位的数据清晰、准确可追溯的统计流程。极大提高了数据的获得效率和安全性,还使数据具有不可篡改性,增强数据的公信力,帮助政府有效提升疫情防控能力,提高基层核查工作效率,并为疫情监控、精准施策提供有力的科学化、数据化支撑。为政府精准施策提供决策辅助,为各部门的工作考评提供客观、全面的依据,事后还可由第三方机构用于各种分析。

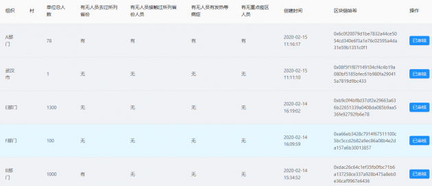
图4:防疫数据上链
为疫情防控平台提供区块链技术支撑的上海墨珩网络科技有限公司,拥有一支世界顶尖全栈区块链技术团队,他们开发的区块链产品已经是成熟的商用落地产品,始终致力于区块链技术与大数据、人工智能、5G等科技结合的落地应用,团队前后为国内外知名的井通区块链、墨客区块链以及多家上市公司提供区块链底层技术或解决方案,参与完成“边缘计算+区块链”“IP知识产权确权”、“供应链金融”、“分布式存储”等多个领域的行业应用落地。
在抗击新冠肺炎疫情的关键时期,墨珩科技潜心科研攻关,以实际行动为抗击疫情献计出力,将区块链技术应用于疫情防控,打造“硬核”管理平台。未来,墨珩科技将携手产业合作伙伴共同推进更多的区块链技术的产业落地。
